TAGGED: truss
-
-
October 22, 2022 at 3:10 pm
-
October 22, 2022 at 11:26 pm
peteroznewman
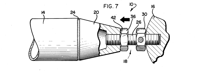
Subscriber A truss structure is made up of two-force members, which means straight struts that only transmit axial force. The design of the strut end include features that minimize any bending moments going into the strut. One example is shown in the Patent figures below.
Another example is a tab and clevis pinned joint.
Along the top of your figure is not one beam, but two links. Along the bottom of your figure is not one beam, but three links.
Below is an example of a set of flexures connecting three struts to a single point.
-
Viewing 1 reply thread
- The topic ‘link180 element’ is closed to new replies.
Innovation Space
Trending discussions
Top Contributors
-
6379
-
1906
-
1457
-
1308
-
1022
Top Rated Tags
© 2026 Copyright ANSYS, Inc. All rights reserved.
Ansys does not support the usage of unauthorized Ansys software. Please visit www.ansys.com to obtain an official distribution.





